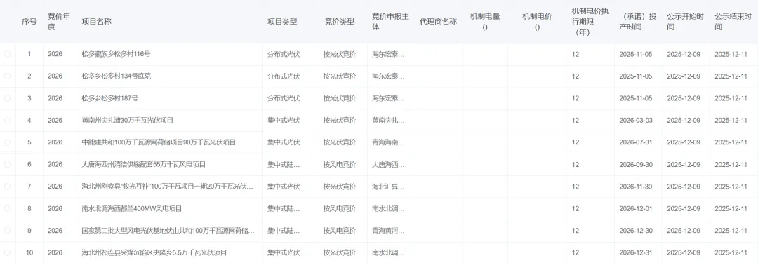
12月9日,国网新能源云公示青海省2026年新能源机制电价竞价结果。
其中光伏项目入围49个,机制电量规模达7.81040337亿千瓦时,机制电价为0.227元/千瓦时。
风电机制电价0.24元/度,入围项目4个,机制电量规模668870.053兆瓦时。
青海2026年竞价组织公告明确,2026年新能源增量项目竞价机制电量总规模28.59亿千瓦时,其中,风电10.44亿千瓦时,光伏18.15亿千瓦时,光伏竞价上下限分别为0.2277元/千瓦时、0.15元/千瓦时。风电竞价上下限分别为0.24元/千瓦时、0.205元/千瓦时。
此前,11月12日,青海公示2025年青海省新能源机制电价竞价结果。
光伏机制电价0.24元/度,入围项目23个,机制电量1124999.999兆瓦时;从入围项目来看,包括16个分布式光伏项目,7个集中式光伏。风电机制电价0.24元/度,入围项目4个,机制电量542999.999兆瓦时。
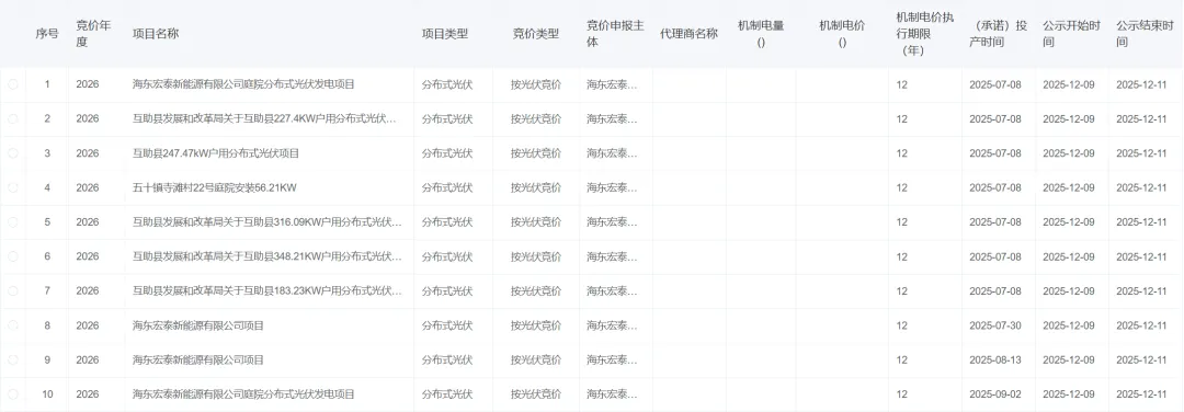
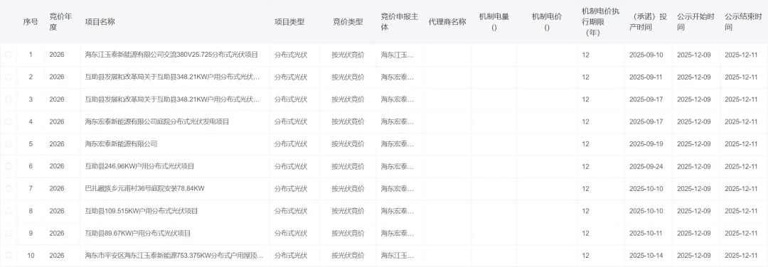
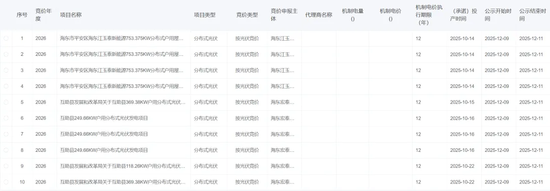
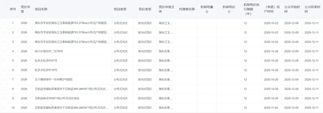
项目如下:






信息来源:国网新能源云
返回
京公网安备11010702002684