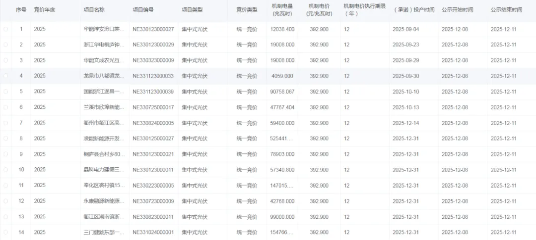
12月8日,国网新能源云公示浙江省机制电价竞价结果。
根据公示,浙江省2025年统一竞价项目竞价出清结果:机制电量规模1357273.500兆瓦时,机制电价水平:0.3929元/kWh,项目14个,执行期限为12年。
此前,浙江省发改委发布关于开展2025年新能源增量项目机制电价第1次竞价工作的通知。
根据通知文件,本次竞价机制电量总规模为光伏发电147.4万兆瓦时(14.74亿千瓦时)。价格上限为393元/兆瓦时(0.393元/千瓦时),申报价格下限为242元/兆瓦时(0.242元/千瓦时)。
项目信息如下:

信息来源:新能源云
返回
京公网安备11010702002684